Добавить новость





160*600

Новости сегодня на DirectAdvert

Новости сегодня от Adwile

Актуальные новости сегодня от ValueImpression.com


Опубликовать свою новость бесплатно - сейчас


Складной iPhone cможет самостоятельно устранять царапины и вмятины на дисплее. Apple запатентовала технологию

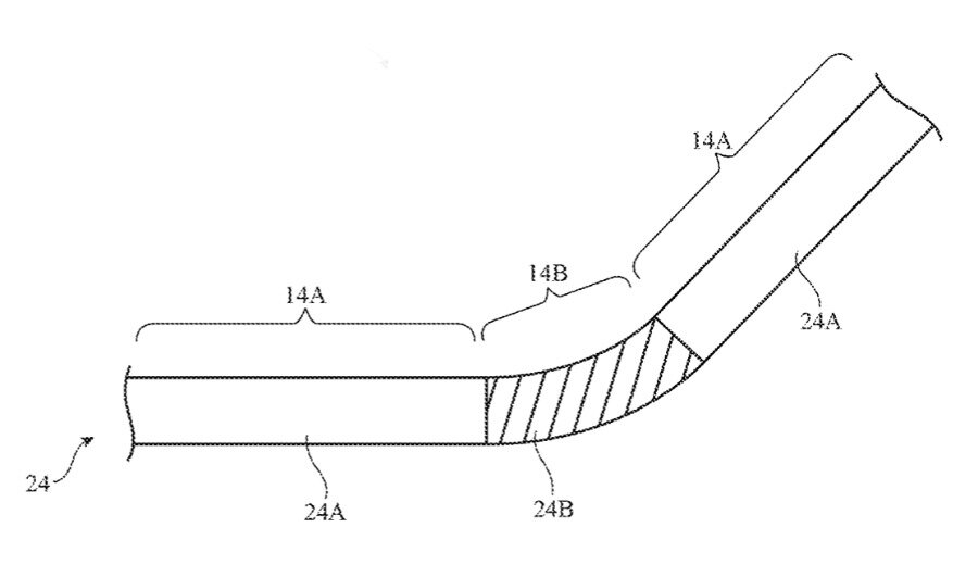
Apple продолжает работать над технологией, позволяющей дисплеям iPhone себя «ремонтировать». Речь идёт про несущественные механические повреждения вроде неглубоких царапин и вмятин. Уже как минимум 9 лет компания разрабатывает складной iPhone, при этом всё никак не может определиться с вариантами складывания устройства. В каждом отдельном случае существует проблема механического повреждения экрана. Выяснилось, что Apple уже запатентовала технологию, которая минимизирует последствия.

В документе предлагается использовать гибкие слои покрытия дисплея наряду с жёсткими, а также то, что Apple называет «самовосстановлением». К сожалению, подробностей о том, как это будет осуществляться, очень мало. В патенте говорится, что устройство может иметь шарнир, позволяющий сгибать его вокруг оси изгиба. В этой области будет гибкий слой, соединяющий две части экрана в одно целое. Он может включать слой эластомера, способный растягиваться и возвращаться к первоначальной форме под воздействием тепла — по аналогии с тем, как ведёт себя пена с памятью в подушках и матрицах под воздействием тела человека.

Apple предлагает добавлять прозрачные проводники, образующие нагревательный слой, чтобы приступить к процессу «заживления» экрана. Этот слой будет задействован в соответствии с заранее заданным графиком или во время зарядки устройства. Технология может использоваться не только в смартфонах, но и в компьютерах, и в носимых устройствах. Apple рассматривает несколько вариантов исполнения, но общая идея заключается в использовании нескольких слоёв.

Apple ежегодно подает заявки на множество патентов, но далеко не все из них реализуются. В данном случае разработка компании выглядит не просто очередным интересом. Более того, компания уже развивала эту тему ранее, а данный патент продолжает серию других патентов Apple, касающихся складного iPhone.

Читайте на сайте

Другие проекты от 123ru.net








































Другие популярные новости дня сегодня


123ru.net — быстрее, чем Я..., самые свежие и актуальные новости Вашего города — каждый день, каждый час с ежеминутным обновлением! Мгновенная публикация на языке оригинала, без модерации и без купюр в разделе Пользователи сайта 123ru.net.

Как добавить свои новости в наши трансляции? Очень просто. Достаточно отправить заявку на наш электронный адрес mail@29ru.net с указанием адреса Вашей ленты новостей в формате RSS или подать заявку на включение Вашего сайта в наш каталог через форму. После модерации заявки в течении 24 часов Ваша лента новостей начнёт транслироваться в разделе Вашего города. Все новости в нашей ленте новостей отсортированы поминутно по времени публикации, которое указано напротив каждой новости справа также как и прямая ссылка на источник информации. Если у Вас есть интересные фото Вашего города или других населённых пунктов Вашего региона мы также готовы опубликовать их в разделе Вашего города в нашем каталоге региональных сайтов, который на сегодняшний день является самым большим региональным ресурсом, охватывающим все города не только России и Украины, но ещё и Белоруссии и Абхазии. Прислать фото можно здесь. Оперативно разместить свою новость в Вашем городе можно самостоятельно через форму.



Новости 24/7 Все города России




Загрузка...


Топ 10 новостей последнего часа






Персональные новости

123ru.net — ежедневник главных новостей Вашего города и Вашего региона. 123ru.net - новости в деталях, свежий, незамыленный образ событий дня, аналитика минувших событий, прогнозы на будущее и непредвзятый взгляд на настоящее, как всегда, оперативно, честно, без купюр и цензуры каждый час, семь дней в неделю, 24 часа в сутки. Ещё больше местных городских новостей Вашего города — на порталах News-Life.pro и News24.pro. Полная лента региональных новостей на этот час — здесь. Самые свежие и популярные публикации событий в России и в мире сегодня - в ТОП-100 и на сайте Russia24.pro. С 2017 года проект 123ru.net стал мультиязычным и расширил свою аудиторию в мировом пространстве. Теперь нас читает не только русскоязычная аудитория и жители бывшего СССР, но и весь современный мир. 123ru.net - мир новостей без границ и цензуры в режиме реального времени. Каждую минуту - 123 самые горячие новости из городов и регионов. С нами Вы никогда не пропустите главное. А самым главным во все века остаётся "время" - наше и Ваше (у каждого - оно своё). Время - бесценно! Берегите и цените время. Здесь и сейчас — знакомства на 123ru.net. . Разместить свою новость локально в любом городе (и даже, на любом языке мира) можно ежесекундно (совершенно бесплатно) с мгновенной публикацией (без цензуры и модерации) самостоятельно - здесь.



Загрузка...

Загрузка...

Экология в России и мире




Путин в России и мире

Лукашенко в Беларуси и мире



123ru.netмеждународная интерактивная информационная сеть (ежеминутные новости с ежедневным интелектуальным архивом). Только у нас — все главные новости дня без политической цензуры. "123 Новости" — абсолютно все точки зрения, трезвая аналитика, цивилизованные споры и обсуждения без взаимных обвинений и оскорблений. Помните, что не у всех точка зрения совпадает с Вашей. Уважайте мнение других, даже если Вы отстаиваете свой взгляд и свою позицию. Smi24.net — облегчённая версия старейшего обозревателя новостей 123ru.net.

Мы не навязываем Вам своё видение, мы даём Вам объективный срез событий дня без цензуры и без купюр. Новости, какие они есть — онлайн (с поминутным архивом по всем городам и регионам России, Украины, Белоруссии и Абхазии).

123ru.net — живые новости в прямом эфире!

В любую минуту Вы можете добавить свою новость мгновенно — здесь.






Здоровье в России и мире


Частные объявления в Вашем городе, в Вашем регионе и в России






Загрузка...

Загрузка...





Друзья 123ru.net


Информационные партнёры 123ru.net



Спонсоры 123ru.net